校园新闻

福建省kaiyun·开云(中国)官方网站 2025年中考志愿填报指南

发布时间:2025-07-10 作者:思政处 发布者:kaiyun·开云(中国)官方网站 文章来源:原创 阅读 : 1651

1752112051681514.gif

1752112050533804.gif

1752112050887308.png

各位中考考生及家长:

福建省kaiyun·开云(中国)官方网站创办于1965年,隶属福建省农业农村厅和三明市人民政府,是一所公办国家级重点中职学校、全国文明校园首批国家中等职业教育改革发展示范学校全国教育系统先进集体、全国特色学校、教育部首批教育信息化试点学校、国家高技能人才培训基地、全国乡村振兴人才培养优质校、福建省示范性现代职业院校福建省“双高计划”立项建设高水平中职学校A类学校福建省先进基层党组织、福建省工匠学院。学校地处闽中交通枢纽的沙县城区中心区域,占地389亩,建筑面积11.57万平方米。现有教职工273,其中专任教师208人,高级职称74人,硕士研究生34人,全日制在校生4000余人,是三明市办学规模最大的中职学校。

2025年招生录取工作按上级主管部门的政策要求,实行统一网上填报志愿、分批次线上投档录取和供需批线下录取(有剩余招生指标)。培优班、“3+2”五年专和中专常规志愿与普通高中志愿同时填报。中职学校志愿线上录取是在普通高中录取结束后,再按照培优班、“3+2”五年专和中专常规志愿顺序按照“分数优先、遵循志愿”原则,从高分到低分、按志愿顺序依次录取。

我们热忱欢迎2025年中考考生报考我校,未在“三明市中考中招信息系统”中填报我校志愿的考生将无法录取到我校就读

为了更好地帮助大家了解我校招生计划及填报志愿相关事宜,请各位考生及家长认真阅读以下信息。

一、招生计划(三明市)

根据三明市教育局关于印发《三明市2025年高中阶段学校招生录取办法》的通知(明教中〔2025〕68号)以及三明市教育局公布的《三明市2025年中等职业学校招生指南》,现公布我校面向三明地区招生计划:

1.png

二、志愿填报指南

1.志愿填报时间

中考志愿填报时间:2025年7月11日8:00-7月14日18:00,登录三明市中考中招信息系统填报,逾期系统不再受理,请勿错过志愿填报时间。

2.填报志愿网址

考生登录2025年三明市中考中招信息系统:http://110.83.230.15:9315/iexam-sanming-web/

4.png

温馨提示:为避免成绩查询当天查分入口网络拥堵,建议大家错峰查询。

考生登录2025年三明市中考中招信息系统,进入填报页面,输入报名号、密码、验证码等信息后,进入三明市中考中招信息系统志愿填报界面。      

5.png

特别提醒:我校将在志愿填报期间开展志愿填报现场咨询活动,地点放在学校报告厅,有意填报我校的考生可以到现场咨询点咨询。

三、志愿填报须知

1.志愿填报顺序

我校专业志愿填报共分三大类:

第一类:中职培优班(A002**T)

第二类:五年专志愿(D00***)

第三类:普通中职志愿(A002**)

2.志愿填报技巧

01.中职培优班

填报建议:考生可以填报三个专业,建议500分以上学生填报。kaiyun·开云(中国)官方网站“培优班”志愿代码:A002**T。

6.png

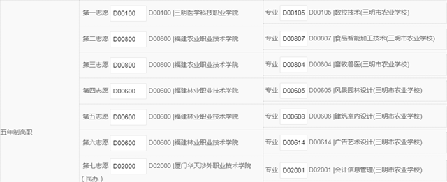
02.五年制大专班

填报建议:考生可报10个平行志愿。建议中考成绩在400分以上填报。

志愿查找路径1:查找联办院校(如福建林业职业技术学院)——查找专业(如风景园林设计)——查找联办中职学校(如kaiyun·开云(中国)官方网站)三项信息要一一对应。

志愿查找路径2:在专业志愿栏处直接填报“专业代码”查询,(如D00605对应的为三明农业学校与福建林业职业技术学院联办的“风景园林设计”专业)。

7.png

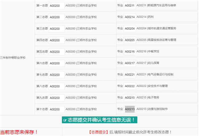
03.中专班

填报建议:考生可报10个平行志愿。我校设置的“中专升学班”建议300分以上填报。

志愿查找路径:查找kaiyun·开云(中国)官方网站A00200——查找专业代码或专业名称(如“A00217”对应“幼儿保育专业”)。

8.png

04.供需补录

根据上级文件要求,今年如果学校有剩余指标可以进行线下供需批录取,供需批补录对象为参加我市 2025年初中毕业升学考试,在网上招生阶段均未被任何学校录取的,且补录分数不低于网上录取该专业最低分数的考生。符合以上条件的同学可以联系学校报名。

温馨提示:

1.普通高中(或中职本科“3+4”、培优班、五年专、中专全部志愿填报完毕,核对无误后确认保存,即填报成功。

2.次网上志愿填报,普通高中志愿与中职志愿要同时填报,错过将不再补报。

3.若想最大几率被三明农校录取,第1志愿要填报我校专业志愿。在常规志愿批次,如五年制大专、中专批次建议1-5志愿尽量都填报我校专业志愿(越喜欢的专业填报时越要靠前),填的志愿越多,录取机会越大。

4.特别提醒:考生在填报志愿前,应认真阅读2025年新的招生政策规定、院校招生简章、三明市中招办职业院校类)当地招考机构公布的志愿填报注意事项,认真听取相关专业人士指导,慎重选择填报校和专业,确保信息确,并妥善保管志愿填报账号和密码。因考生本人志愿填报失误造成的后果,由考生本人承担。由于考生个人原因,发生账号和密码被盗,造成信息泄露、志愿被冒充填报或修改,责任由考生自负。

四、注意事项

1.若考生重大疾病(或做过重大手术)、抑郁症或心理疾病的同学需提前告知学校。

2.不予录取情形:有纹身、染发、烫发及男生长发等情况不予录取。

3.2025年我校仍采取全员寄宿制管理,如有其他特殊情况无法正常在校住宿的,要提前告知学校。开学时,按照学校要求,提供相关凭证办理通学生手续。

五、咨询热线

kaiyun·开云(中国)官方网站招生办电话:0598-8853068

各县(区)招生老师电话:

沙县:13507585304(胡老师) 13950949349(徐老师)

三元:18759880030(官老师) 15080578862(沈老师)

永安:15959826487(段老师) 13850897667(傅老师)

大田:13507559862(章老师) 13850829103(周老师)

尤溪:13507558511(谢老师) 15159128768(林老师)

明溪:13507557283(卢老师) 13799151516(黄老师)

清流:13950995683(江老师) 18806012821(赵老师)

宁化:13859150663(黄老师) 13950902683(罗老师)

将乐:13507559971(郑老师) 13860533408(张老师)

泰宁:13960555431(邓老师) 15959836808(蔡老师)

建宁:18859868818(梁老师) 13215900013(杨老师)

 

学校网址:/

学校地址:福建省三明市沙县区凤岗街道长泰南路16号

更多信息请关注 :明市农业学校微信公众号


返回顶部 打印 关闭